Collarín integral

Collarín integral

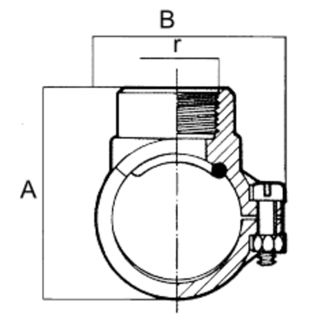
Collarín integral con 1 tornillo.

Volver Ficha Técnica

Descargas